项目介绍
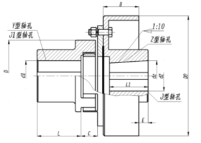
[梅花联轴器-制动轮型(LMZ)]
带制动轮型梅花联轴器,聚氨酯垫,梅花联轴器,制动器联轴器梅花联轴器
|
型号 |
公称扭矩N·m |
许用转速 rpm
|
轴孔直径 d1、d2、dz |
L |
L0 |
D0 |
B |
D |
弹性件型号 |
重量kg |
转动惯量kg·m2 |
|
|
弹性体硬度 |
||||||||||||
|
a/shA |
b/shD |
|||||||||||
|
80±5 |
60±5 |
|||||||||||
|
LMZI5-160 |
250 |
400 |
4750 |
25,28,30,32,35, 38,40,42,45 |
50 |
127 |
160 |
70 |
105 |
|
6.602 |
0.019 |
|
LMZI5-200 |
3800 |
25,28,30,32,35, 38,40,42,45 |
200 |
85 |
9.204 |
0.044 |
||||||
|
LMZI6-200 |
400 |
710 |
30,32,35,38,40 ,42,45,48 |
55 |
143 |
125 |
|
11.45 |
0.052 |
|||
|
LMZI7-200 |
630 |
1120 |
35,38,40,42,45 ,48,50,55,56 |
60 |
159 |
145 |
|
13.96 |
0.064 |
|||
|
LMZI7-250 |
3050 |
35,38,40,42,45 ,48,50,55,56 |
250 |
105 |
20.09 |
0.144 |
||||||
|
LMZI8-250 |
1120 |
2240 |
45,48,50,55,56,60,63,65 |
70 |
181 |
170 |
|
24.65 |
0.175 |
|||
|
LMZI8-315 |
2400 |
45,48,50,55,56, 60,63,65 |
315 |
135 |
34.13 |
0.374 |
||||||
|
LMZI9-315 |
1800 |
3550 |
50,55,56,60,63, 65,70,71,75,80 |
80 |
208 |
200 |
|
41.67 |
0.45 |
|||
|
LMZI9-400 |
1900 |
50,55,56,60,63, 65,70,71,75,80 |
400 |
170 |
65.61 |
1.259 |
||||||
|
LMZI10-400 |
2800 |
5600 |
60,63,65,70,71, 75,80,85,90,95, 100 |
90 |
230 |
230 |
|
74.53 |
1.4 |
|||
|
LMZI10-500 |
1500 |
60,63,65,70,71, 75,80,85,90,95, 100 |
500 |
210 |
110.6 |
3.427 |
||||||
|
LMZI11-500 |
4500 |
9000 |
70,71,75,80,85, 90,95,100,110, 120 |
100 |
260 |
260 |
|
121.7 |
3.715 |
|||
|
LMZI12-630 |
6300 |
12500 |
1200 |
80,85,90,95,100,110,120,125,130 |
115 |
297 |
630 |
265 |
300 |
|
213.7 |
10.24 |
|
LMZI13-710 |
11200 |
20000 |
1050 |
90,95,100,110, 120,125,130, 140,150 |
125 |
323 |
710 |
300 |
360 |
|
341.6 |
19.99 |
|
LMZI14-800 |
12500 |
25000 |
950 |
100,110,120, 125,130,140, 150,160 |
135 |
343 |
800 |
340 |
400 |
|
510.1 |
39.36 |
注:1、质量、转动惯量是按材料为铸钢、L推荐、最大轴孔计算的近似值。
2、带*号轴孔直径可用于Z、J型轴孔。
3、a、b为两种弹性材料硬度代号。
|
型号 |
公称扭矩N·m |
许用转速 rpm
|
轴孔直径 d1、d2、dz |
轴孔长度 |
C |
E |
D0 |
B |
D |
重量kg |
转动惯量kg·m2 |
|
|
Y型 |
J1、Z型 |
|||||||||||
|
L |
||||||||||||
|
LMZⅡ5-160 |
250 |
4750 |
25,28 |
62 |
44 |
38.5 |
20 |
160 |
70 |
105 |
5.18 |
0.0159 |
|
30,32,35,38 |
82 |
60 |
||||||||||
|
40,42,45 |
112 |
84 |
||||||||||
|
LMZⅡ5-200 |
3800 |
25,28 |
62 |
44 |
38.5 |
30 |
200 |
85 |
6.54 |
0.0391 |
||
|
30,32,35,38 |
82 |
60 |
||||||||||
|
40,42,45 |
112 |
84 |
||||||||||
|
LMZⅡ6-200 |
400 |
30,32,35,38 |
82 |
60 |
45 |
30 |
125 |
9.12 |
0.0448 |
|||
|
40,42,45,48 |
112 |
84 |
||||||||||
|
LMZⅡ7-200 |
630 |
35*,38* |
82 |
60 |
52 |
30 |
145 |
12.31 |
0.0527 |
|||
|
40*,42*,45,48,50,55,56 |
112 |
84 |
||||||||||
|
LMZⅡ7-250 |
3050 |
35*,38*, |
82 |
60 |
40 |
250 |
105 |
14.28 |
0.1189 |
|||
|
40*,42*,45,48,50,55,56 |
112 |
84 |
||||||||||
|
LMZⅡ8-250 |
1120 |
45*,48*,50,55,56 |
112 |
84 |
55 |
40 |
170 |
19.28 |
0.1402 |
|||
|
60,63,65 |
142 |
107 |
||||||||||
|
LMZⅡ8-315 |
2400 |
45*,48*,50,55,56 |
112 |
84 |
40 |
315 |
135 |
24.02 |
0.0366 |
|||
|
60,63,65 |
142 |
107 |
||||||||||
|
LMZⅡ9-315 |
1800 |
50*,55*,56* |
112 |
84 |
64 |
40 |
200 |
32.16 |
0.0404 |
|||
|
60,63,65,70,71,75 |
142 |
107 |
||||||||||
|
80 |
172 |
132 |
||||||||||
|
LMZⅡ9-400 |
1900 |
50*,55*,56* |
112 |
84 |
400 |
170 |
40.18 |
1.0863 |
||||
|
60,63,65,70,71,75 |
142 |
107 |
||||||||||
|
80 |
172 |
132 |
||||||||||
|
LMZⅡ10-400 |
2800 |
60,63,65,70,71,75 |
142 |
107 |
70 |
39 |
230 |
50.72 |
1.17 |
|||
|
80,85,90,95 |
172 |
132 |
||||||||||
|
100 |
212 |
167 |
||||||||||
|
LMZⅡ10-500 |
1500
|
60,63,65,70,71,75 |
142 |
107 |
53 |
500 |
210 |
64.14 |
3.0039 |
|||
|
80,85,90,95 |
172 |
132 |
||||||||||
|
100 |
212 |
167 |
||||||||||
|
LMZⅡ11-500 |
4500 |
70,71,75 |
142 |
107 |
84 |
54 |
260 |
81.75 |
3.1957 |
|||
|
80,85,90,95 |
172 |
132 |
||||||||||
|
100,110,120 |
212 |
167 |
||||||||||
|
LMZⅡ12-630 |
6300 |
1200 |
80,85,90,95 |
172 |
132 |
84 |
59 |
630 |
265 |
300 |
133.8 |
9.0441 |
|
100,110,120,125 |
212 |
167 |
||||||||||
|
130 |
252 |
202 |
||||||||||
|
LMZⅡ13-710 |
11200 |
1050 |
90,95 |
172 |
132 |
98 |
60 |
710 |
300 |
360 |
195.93 |
16.4898 |
|
100,110,120,125 |
212 |
167 |
||||||||||
|
130,140,150 |
252 |
202 |
||||||||||
|
LMZⅡ14-800 |
12500 |
950 |
100,110,120,125 |
212 |
167 |
98 |
60 |
800 |
340 |
400 |
294.51 |
37.985 |
|
130,140,150 |
252 |
202 |
||||||||||
|
160 |
302 |
242 |
||||||||||
注:1、质量、转动惯量是按材料为铸钢、L推荐、最大轴孔计算的近似值。
2、带*号轴孔直径可用于Z型轴孔。


