项目介绍
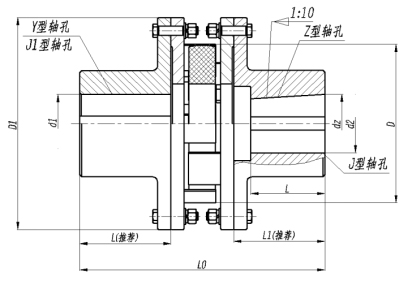
[梅花联轴器-双法兰型(LMS)]
双法兰型梅花联轴器,梅花联轴器,弹性体,聚氨酯垫梅花联轴器
|
型号 |
公称扭矩N·m |
许用转速 rpm
|
轴孔直径 d1、d2、dz |
轴孔长度 |
L L1推荐 |
L0 |
D |
D1 |
弹性件型号 |
转动惯量kg·m2 |
重量kg |
||
|
弹性体硬度 |
|||||||||||||
|
a/shA |
b/shD |
Y型 |
J1 J Z型 |
||||||||||
|
80±5 |
60±5 |
L |
L |
||||||||||
|
LMS1 |
25 |
45 |
8500 |
12,14 |
32 |
27 |
35 |
98 |
50 |
90 |
|
0.0013 |
1.33 |
|
16,18,19 |
42 |
30 |
|||||||||||
|
20,22,24 |
52 |
38 |
|||||||||||
|
25 |
62 |
44 |
|||||||||||
|
LMS2 |
100 |
200 |
6900 |
20,22,24 |
52 |
38 |
40 |
117 |
70 |
110 |
|
0.0034 |
2.33 |
|
25,28 |
62 |
44 |
|||||||||||
|
30,32 |
82 |
60 |
|||||||||||
|
LMS3 |
140 |
280 |
6200 |
22,24 |
52 |
38 |
45 |
130 |
85 |
125 |
|
0.0064 |
3.38 |
|
25,28 |
62 |
44 |
|||||||||||
|
30,32,35,38 |
82 |
60 |
|||||||||||
|
40 |
112 |
84 |
|||||||||||
|
LMS4 |
350 |
400 |
5000 |
25,28 |
62 |
44 |
50 |
150 |
105 |
150 |
|
0.0175 |
6.07 |
|
30,32,35,38 |
82 |
60 |
|||||||||||
|
40,42,45 |
112 |
84 |
|||||||||||
|
LMS5 |
400 |
710 |
4100 |
30,32,35,38 |
82 |
60 |
55 |
167 |
125 |
185 |
|
0.0444 |
10.47 |
|
40,42,45,48 |
112 |
84 |
|||||||||||
|
LMS6 |
630 |
1120 |
3700 |
35*,38* |
82 |
60 |
60 |
185 |
145 |
205 |
|
0.0739 |
14.22 |
|
40*,42*,45,48,50,55 |
112 |
84 |
|||||||||||
|
LMS7 |
1120 |
2240 |
3100 |
45*,48*,50,55,56 |
112 |
84 |
70 |
209 |
170 |
240 |
|
0.1493 |
21.16 |
|
60,63,65 |
142 |
107 |
|||||||||||
|
LMS8 |
1800 |
3550 |
2800 |
50*,55*,56 |
112 |
84 |
80 |
240 |
200 |
270 |
|
0.2767 |
30.7 |
|
60,63,65,70,71,75 |
142 |
107 |
|||||||||||
|
80 |
172 |
132 |
|||||||||||
|
LMS9 |
2800 |
5600 |
2500 |
60*,63*,65*,70,71,75 |
142 |
107 |
90 |
268 |
230 |
305 |
|
0.5262 |
44.55 |
|
80,85,90,95 |
172 |
132 |
|||||||||||
|
100 |
212 |
167 |
|||||||||||
|
LMS10 |
4500 |
9000 |
2200 |
70*,71*,75* |
142 |
107 |
100 |
308 |
260 |
350 |
|
1.1362 |
70.72 |
|
80*,85*,90,95 |
172 |
132 |
|||||||||||
|
100,110,120 |
212 |
167 |
|||||||||||
|
LMS11 |
6300 |
12500 |
1900 |
80*,85*,90*,95* |
172 |
132 |
115 |
345 |
300 |
400 |
|
1.9998 |
99.54 |
|
100,110,120,125 |
212 |
167 |
|||||||||||
|
130 |
252 |
202 |
|||||||||||
|
LMS12 |
11200 |
20000 |
1600 |
90*,95* |
172 |
132 |
125 |
373 |
360 |
460 |
|
3.6719 |
137.53 |
|
100,110,120*,125 |
212 |
167 |
|||||||||||
|
130 |
252 |
202 |
|||||||||||
|
LMS13 |
12500 |
25000 |
1500 |
100*,110*,120*,125* |
212 |
167 |
135 |
383 |
400 |
500 |
|
5.1581 |
165.25 |
|
130,140,150 |
252 |
202 |
|||||||||||
|
160 |
302 |
242 |
|||||||||||
注:1、质量、转动惯量按L推荐最小轴孔计算近似值;
2、带*号轴孔直径可用于Z型、J型轴孔;
3、a、b为二种材料的硬度代号;
4、L0是两端轴孔长度均为L推荐时联轴器的全长;
5、Y型为长圆柱形轴孔,J1型为无沉孔短圆柱形轴孔,J型为有沉孔短圆柱形轴孔,Z型为有沉孔圆锥形轴孔。


